ПОЛУАВТОМАТ ПОРЕЗКИ ВАФЕЛЬНЫХ ТРУБОЧЕК

Полуавтомат предназначен для автоматизированной обрезки облоя и порезки вафельных трубочек на требуемые размеры.
Полуавтомат может применяться на предприятиях кондитерской и пищевой промышленности.

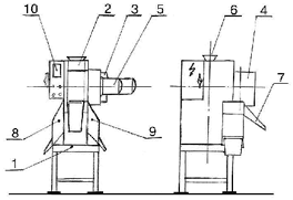
Полуавтомат порезки вафельных трубочек
1- станина; 2 - агрегат подачи вафельных трубочек в зону порезки; 3 - привод механизма подачи вафель;
4 - механизм порезки; 5 - привод механизма порезки; 6 - загрузочная воронка;
7 - лоток выгрузки готовой продукции; 8,9 - бункера выгрузки облоя; 10 - пульт управления.
ТЕХНИЧЕСКИЕ ХАРАКТЕРИСТИКИ:
1. Размер заготовки
- диаметр
- длина
- 30мм
- 138...151мм
2. Количество порезов - 2(3)
3. Производительность - 1500заготовок/час
4. Установленная мощность - 1,1кВт
5. Скорость подачи выпечки к механизму резки
(регулируемая)
- 50...100мм/сек
6. Габаритные размеры - 950х700х1400мм
7. Масса - 90кг





e-mail: